化肥料浆法是什么原理?

奥普乐农资2025-10-25 02:1788 阅读17 赞

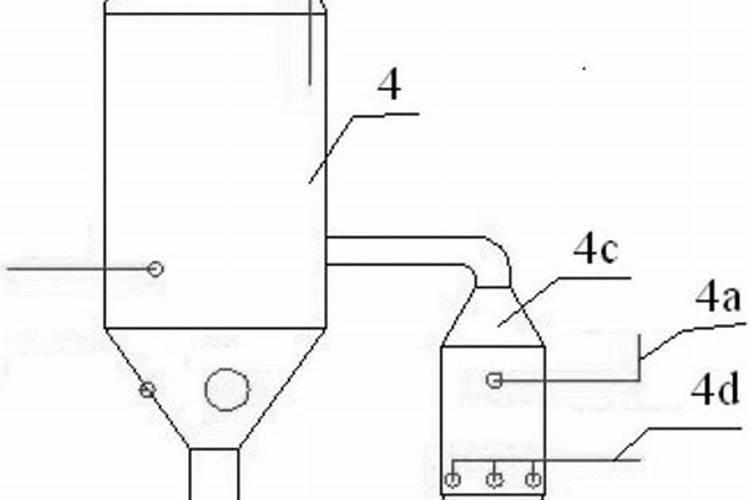
一、料浆法制磷铵简介

料浆法制磷铵是一种创新的磷酸铵生产工艺,其简介如下:核心理念:料浆法制磷铵工艺的独特之处在于它创新了传统磷酸浓缩的途径,采用“磷铵料浆浓缩”的方式。主要步骤:中和反应:首先,通过稀酸与氨的中和反应,生成一种稀释的中和料浆。蒸发浓缩:接着,料浆进入蒸发浓缩过程,有效地去除大部分的水分。工艺优势:

料浆法制磷铵简介

二、什么是料浆法

磷酸二铵和磷酸一铵的生产有料浆法与传统法两种工艺技术。其实质区别主要就在于磷酸在与氨中和前是否浓缩。用经过浓缩后的磷酸生产的磷酸二铵和磷酸一铵,称之为“传统法”工艺;用没有经过浓缩的稀磷酸生产磷酸二铵和磷酸一铵,称之为“料浆法”工艺 ...

什么是料浆法

三、复合肥工艺分几种

料浆法生产工艺技术:这是一种通过混合各种原料形成料浆,再经过一系列加工步骤制成复合肥的方法。高塔造粒生产尿基复合肥工艺技术:该技术利用高塔设备,将熔融的尿素与其他原料混合后,通过造粒塔喷淋造粒,形成颗粒状的复合肥。熔体造粒法生产工艺技术:此方法涉及将原料加热至熔融状态,然后通过特定的造粒...

复合肥工艺分几种

四、复合肥的生产工艺你知道吗?

物理混合法(复混肥生产)通过机械混合将含氮、磷、钾的单元肥料或中间体按比例混合,制成复混肥。此方法工艺简单、成本低,但养分比例固定,肥效与化学合成法差异不大。化学合成法(复合肥生产)以含氮、磷、钾的矿物质为原料,通过化学反应(如中和、复分解等)生成复合肥。常见工艺包括:料浆法:...

复合肥的生产工艺你知道吗?

五、化肥的制造流程和原理讲解一下

3. 料浆法复合肥工艺:这是一种从国外引进的先进工艺,包括法国的AZF、KT,美国的Davy/TVA,挪威的Norsk Hydro,西班牙的Incro、等。这种工艺中,氮、磷、钾三种养分中有两种的养分标量是通过化学反应制成料浆的造粒工艺。起步阶段主要是引进技术或同步国产化的DAP改产NPK的工艺,包括中和、...

化肥的制造流程和原理讲解一下

常见的化肥生产工艺有哪些?

第二:干粉物理团粒法 干粉物理团粒法同样采用物理手段进行肥料生产。与掺混法不同,此法使用粉状原料,根据预设配方进行投料,随后加入水或蒸汽,在滚筒或圆盘滚动的过程中形成复混颗粒。有时还会添加酸或液氨以促进造粒形成。这种工艺生产的肥料更为均匀,肥效也更稳定。第三:料浆法 料浆法利用磷酸或...

复合肥高塔造粒和喷浆造粒有什么区别

造粒原理:高塔造粒:通过熔融硝磷钾熔体,并从造粒塔顶喷出,使其在降落过程中冷却并团聚成粒。这种方法也被称为“熔融造粒法”。喷浆造粒:通过蒸发溶液或浆体中的水分来制取颗粒,主要包括喷雾和干燥两个过程。料浆被喷洒成雾状微液滴,水分被热空气蒸发后,固体物质聚集成干燥的微粒。造粒过程:高塔...

料浆法和传统法哪个种玉米更好

料浆法。1、传统工艺法生产磷铵主要是将经浓缩的湿法磷酸直接与氨中和对玉米种子进行浸润,而料浆法水溶性磷含量高,发芽率更高。2、采用等行距种植,传统法必须定期进行浇灌,而料浆法不用,会一次性将生长周期所需要的养分进行调配使用。

化肥生产传统法

采用经过浓缩的磷酸进行生产,即所谓的传统法工艺,能够显著提高磷酸的有效利用率,进而提升产品的品质。该工艺流程相对复杂,需要对磷酸进行预处理,包括浓缩、稀释等步骤,以确保与氨的中和反应能够达到最佳效果。而料浆法工艺则相对简单,直接使用未经浓缩的稀磷酸进行生产。这种方法的优点在于工艺流程简化...

热点